服務熱線:15195518515在線客服:1464856260
傳真號碼:0517-86801009
郵箱號碼:1464856260@qq.com
網 址:http://m.baolongseals.com
地 址:江蘇省金湖縣理士大道61號
磁翻板液位計使用說明書
發布時間:2021-03-18 11:37:41??點擊次數:2123次
磁翻板液位計是根據國內外同類產品加以提升,并按照原化工部頒布的磁性液位計標準HG/T21584-95所研制生產的測量儀表,專門用于測量各種液位,例如:水、鹽酸、硫酸、硝酸、酸堿液、工業廢水、藥液等。
Flap-11系列磁翻板液位計吸收了國內外同類產品的**設計理念和工藝制造,測量結果精準、可靠。此外,計為注重工藝細節,在嚴控生產流程和質量檢測的同時,還自主開發了一系列創新設計、生產工藝和檢測標準,完美解決了各種國內外同行產品所存在的缺陷和常見故障,確保每個儀表都具有*高的可靠性。
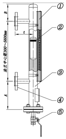
Flap-11系列磁翻板液位計主要分為四大型號,其中包含Flap-11A標準型、Flap-11S經濟型、Flap-11C塑料型以及Flap-11P內襯型。以上四種型號的結構相同,由①指示器、②磁浮子、③浮筒、④連接法蘭、⑤排污閥組成,如下圖所示:

為了確保現場安全,避免遇到突發狀況不知所措的事情發生,儀表安裝人員需仔細閱讀并理解說明書中的有關注意事項:
(1)在運輸途中,為了防止磁浮子在浮筒內滑動、撞擊,磁翻板液位計出廠前會采用尼龍帶將浮子固定在浮筒邊,請在安裝將下法蘭打開,并將浮子放進浮筒內(帶有箭頭和重端磁性一端朝上);
(2)磁翻板液位計與容器之間應裝有閥門,以便清洗和檢修時切斷物料;
(3)任何具有磁性的物體都不允許靠近磁翻板液位計筒體周圍,并且嚴禁使用鐵質卡箍,否則會影響磁翻板液位計的正常工作;
(4)頂裝式磁翻板液位計在安裝時,磁翻板液位計護導管和主體導管必須保持垂直并且確保在同一延長線上,浮球連桿不能彎曲,必須垂直安裝;
(5)由于304內襯PTFE防腐型磁翻板液位計的浮筒與法蘭銜接處采用獨特的密封結構,因此需借助專用的工具裝配。為保證密封可靠性,禁止私自拆卸;
(6)磁翻板液位計安裝完畢后,需用磁鋼進行校正,使零位以上的翻片呈白色;
(7)磁翻板液位計初次投入運行時,應先打開上引液管閥門,然后慢慢開啟下引液管閥門,讓液體介質平穩流入,避免液體介質帶著浮子急速上升,造成翻片翻轉失靈或翻亂(如此現象產生,請用磁鋼進行校正);
(8)磁翻板液位計的浮筒內不應有固體雜質進入,以免對浮子造成堵塞。請務必定期清洗浮筒,清除內部雜質;
(9)對于超長型磁翻板液位計(測量范圍大于4m),物流運輸成本較高,一般進行分段制作。分段方法有以下兩種形式,可根據客戶現場設備的實際接口形式而定。圖1形式是將一臺磁翻板液位計分成兩段,安裝時先組裝對接好連接法蘭,在進行對接操作時可適當松開顯示面板,支承點的數量根據磁翻板液位計的長短來定。圖2形式是分成兩臺或若干臺獨立的磁翻板液位計,這種形式的結構要求儲罐中間的兩塊法蘭的中心線處在同一水平面上,以實現液位顯示的連續性。

計為自動化為客戶提供的服務包括技術咨詢、用戶培訓、現場安裝與調試、產品更換和維修以及現場技術支持等。
您購買的儀表在運輸途中會有包裝材料予以保護。儀表采用不會危害環境且可回收利用的木箱包裝,用畢請讓專業回收企業予以回收。
收到貨物后請檢查包裝的完整性和可能存在的運輸損壞,如發現存在運輸過程中出現的損壞或隱藏的缺陷,應及時進行信息反饋。
關于磁翻板液位計的存儲,應遵循下列條件:
(1)避免露天保存;
(2)避免存放在潮濕和大粉塵的場所;
(3)避免與具有腐蝕性的介質接觸;
(4)避免受陽光的強烈照射;
(5)避免機械式振動;
(6)儲存環境(相對空氣濕度:0~95%;存儲溫度:-40~80℃)。
*后附上Flap-11系列磁翻板液位計的通用選型表,供廣大用戶參考。




|