服務熱線:15195518515在線客服:1464856260
傳真號碼:0517-86801009
郵箱號碼:1464856260@qq.com
網 址:http://m.baolongseals.com
地 址:江蘇省金湖縣理士大道61號
一種新型頂裝污水液位計生產加工工藝與結構特點
污水液位計的安裝方式有多種,而頂裝是污水液位計安裝方式中較為常見的一種方式。通常,頂裝污水液位計是安裝在地埋罐,或者在容器不適宜側面開孔及側面安裝空間很小時選用。在頂裝污水液位計的浮筒內設有磁浮子,該浮筒外設有磁翻板指示器,該磁翻板指示器和該磁浮子通過磁性耦合作用,對各種塔、罐、槽等設備的介質液位進行檢測。為此設計了一種頂裝污水液位計具有與傳統頂裝污水液位計不同的工藝和結構,那么,頂裝污水液位計的工藝新在何處?結構又獨特在哪里?與傳統頂裝污水液位計相比又有哪些優點呢?
一、傳統頂裝式污水液位計的工藝結構及弊端
浮筒、容器以及連接用的法蘭等的材質多為金屬材料,當被測液體為腐蝕性液體時,為防止被測液體腐蝕浮筒或者連接法蘭,造成生產安全事故的發生,通常需要采用內襯設計。在傳統的頂裝式污水液位計中,浮筒內的內襯通常采用翻邊工藝,在浮筒靠近容器的一端形成一個環形翻折部。但受限于浮筒形狀、尺寸以及內襯材料的尺寸和特性影響,該翻折部的翻邊密封面無法做到很大,加上容器開口通常是大于該翻折部所覆蓋的區域,因此造成了容器開口與翻折部以外的金屬面(如法蘭的表面)相通,從而容易導致這些金屬面受腐蝕,*易造成生產安全事故,給生產帶來麻煩。
二、頂裝污水液位計的新工藝與獨特結構
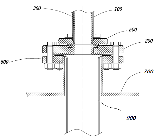
針對傳統頂裝式污水液位計的這些弊端,在多次試驗的基礎上,對現有的內襯工藝與結構做了改進,發明了頂裝式污水液位計的一種新工藝及其結構,如下圖所示,其提供了*一連接件和連接內襯。該連接內襯具有用于連通內襯連接口的*一連接口、自*一連接口向外成環形設置的*一密封部、用于與被測容器連通的*二連接口和自*二連接口向外成環形設置的*二密封部。由于該*一連接件和連接內襯為單獨設置,可以單獨制造,因此*一密封部和*二密封部可以制作的足夠大,從而實現*一密封部與浮筒內襯的翻折部密封抵接;同時,連接內襯的*二密封部用于與容器實現密封連接。由此,該連接內襯可以與浮筒內襯和容器開口內的護筒形成完全密封的連接,從而避免連接處的金屬面受腐蝕,使生產安全順利地進行,免受因發生生產安全事故對生命和財產造成的安全威脅。

頂裝污水液位計在生產中的應用表明,該新型內襯工藝有效解決了傳統頂裝污水液位計應用中存在的問題,使產品的可靠性大大提高,受到用戶的一致認可和好評。



|